First names for Elseif
- Had Elseif 2
- Zaid Elseif
- Tizif Elseif
- Sudhagar Elseif
- Shahid Elseif
- Seef Elseif
- Sanad Elseif
- Saadelseify Elseif
- Remosh Elseif
- Rdb Elseif
- Nourhan Elseif
- Nour Elseif
- Negeda Elseif
- Medo Elseif
- Lamaet Elseif
- Kumbarelseif Elseif
- Jakir Elseif
- Endrik Elseif
- Bader Elseif
- Awad Elseif
- Ali Elseif
- Abd Elseif
Typos & Misspells
elsief, esleif, elesif, elsei, elseifa, elseof, ellseif, elseife, elseifi, elseifo
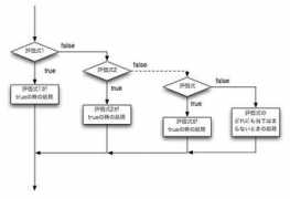
Top Images for Elseif



Similar Names
Elseifi /
Elseify Elseir /
Elseid